Breadcrumbs

Kinematic and dynamic limits

The following table shows the kinematic and dynamic limits that must be respected in order to use the machine in complete safety for both people and the machine itself.


Description


A1 Maximum slope when ascending and descending with the modules in transport position.


kinematic-limits-01.png

Value


See the technical documentation of the tractor.

Limiting factor


Weight on the front axle.


A3 Maximum pitch angle of the tractor with the modules in working position.


kinematic-limits-03.png

± 3.2°

Dimensions of the oblong hole on the three-point hitch.


H3 Corresponding height for a tractor with a wheelbase of 2 m | 78 in.

11 cm | 4.3 in

Same as A3.


A5 Maximum tilt angle of tractor and modules in working position.


kinematic-limits-05.png

See the technical documentation of the tractor.

Tractor limits.


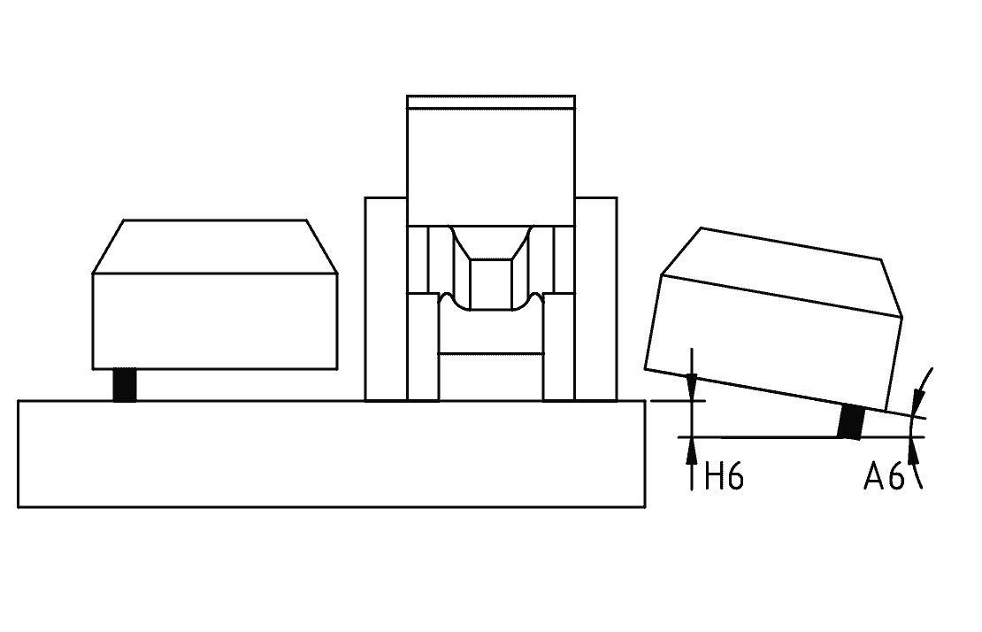
A6 Sag angle of the side modules. This is the angle between the horizontal and the side modules when their wheels no longer touch the ground.


kinematic-limits-06.png

12°

Module stops.


H6 Vertical sagging at the ends of the side modules.

42 cm | 16.5 in

Same as A6.


A7 Maximum roll angle of the side modules.


kinematic-limits-07.png

± 10°

Spray quality is reduced because adjacent modules no longer spray in the same directions. From -10° downwards, the overlap of the jets is too large. From +10° upwards, the overlap of the jets is too small.


H7 Corresponding height.

± 35 cm | 13.8 in

Same as A7.


Direction of travel in turns when modules are in working position.


kinematic-limits-08.png

Always forwards.

Stops of the swivel wheels of the machine.


A9 Maximum slope angle when parked, modules in transport position, regardless of machine orientation.

dynamic-limits-01.png
kinematic-limits-09.png
kinematic-limits-10.png

3° (~5%)

Limit of adhesion of the parking stands.

WARNINGS

  • Never raise or lower the side modules when the machine is perpendicular to the direction of the slope, as the jolts could cause the machine to tip over.

  • If the ground is not even and the machine is detached, it must be parked in the direction of the slope. It is forbidden to park perpendicular to the slope.


V1 Driving speed in road traffic when the machine is coupled to the tractor.

dynamic-limits-03.png
  • CH : 40 km/h | 25 mph

  • FR : 25 km/h | 15 mph

Depends on country, tractor and other conditions. Respect the legislation in force. In any case, do not exceed the speed of 40 km/h | 25 mph.


V2 Traffic speed in road traffic when the machine is transported on a trailer.

dynamic-limits-04.png

CH : 100 km/h | 62 mph

Depends on country, trailer and other conditions. Respect the legislation in force.