Breadcrumbs

Kinematische en dynamische grenswaarden

De volgende tabel toont de kinematische en dynamische grenswaarden die moeten worden nageleefd om de machine volledig veilig voor zowel personen als de machine zelf te kunnen gebruiken.


Beschrijving


A1 Maximale helling bij het opgaan en afgaan met de modules in transportpositie.


kinematic-limits-01.png

Waarde


Zie de technische documentatie van de tractor.

Beperkende factor


Gewicht op de vooraxel.


A3 Maximale hellingshoek van de tractor met de modules in werkpositie.


kinematic-limits-03.png

± 3.2°

Afmetingen van het langwerpige gat op de driehoeks-koppeling.


H3 Overeenkomstige hoogte voor een tractor met een wielbasis van 2 m | 78 in.

11 cm | 4,3 in

Gelijk aan A3.


A5 Maximale kantelhoek van tractor en modules in werkpositie.


kinematic-limits-05.png

Zie de technische documentatie van de tractor.

Tractorlimieten.


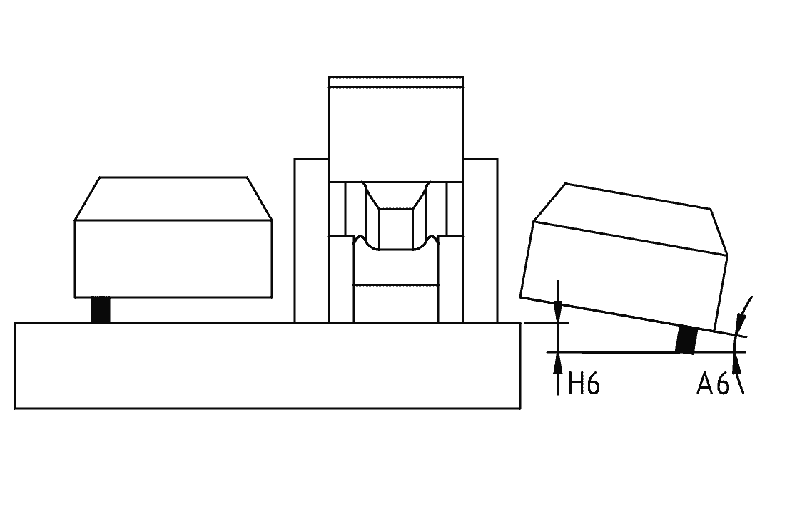
A6 Doorbuigingshoek van de zijmodules. Dit is de hoek tussen de horizontaal en de zijmodules wanneer hun wielen de grond niet meer raken.


kinematic-limits-06.png

12°

Moduleaanslag.


H6 Verticale doorbuiging aan de uiteinden van de zijmodule.

42 cm | 16.5 in

Hetzelfde als A6.


A7 Maximale rolhoek van de zijmodule.


kinematic-limits-07.png

± 10°

De spuitkwaliteit wordt verminderd omdat aangrenzende module niet meer in dezelfde richtingen spuiten. Vanaf -10° naar beneden is de overlapping van de straalpluimen te groot. Vanaf +10° naar boven is de overlapping van de straalpluimen te klein.


H7 Overeenkomstige hoogte.

± 35 cm | 13.8 in

Hetzelfde als A7.


Rijrichting in bochten wanneer module in werkpositie zijn.


kinematic-limits-08.png

Altijd vooruit.

Stoppers van de zwenkelwielen van de machine.


A9 Maximale hellingshoek bij parkeren, module in transportpositie, ongeacht de oriëntatie van de machine.

dynamic-limits-01.png
kinematic-limits-09.png
kinematic-limits-10.png

3° (~5%)

Limiet van adhesie van de parkeerstandaarden.

WAARSCHUWINGEN

  • De zijmodule mag nooit worden verheven of verlaagd wanneer de machine loodrecht op de hellingrichting staat, aangezien de schokken tot kantelen van de machine kunnen leiden.

  • Indien de grond niet gelijk is en de machine is ontkoppeld, dient deze in de richting van de helling te worden geparkeerd. Het is verboden loodrecht op de helling te parkeren.


V1 Rijsnelheid in het wegverkeer wanneer het apparaat aan de tractor is gekoppeld.

dynamic-limits-03.png
  • CH : 40 km/h | 25 mph

  • FR : 25 km/h | 15 mph

Afhankelijk van land, tractor en andere omstandigheden. Naleef de geldende wetgeving. In elk geval mag de snelheid van 40 km/h | 25 mph niet worden overschreden.


V2 Verkeerssnelheid in het wegverkeer wanneer het apparaat op een aanhanger wordt vervoerd.

dynamic-limits-04.png

CH : 100 km/h | 62 mph

Afhankelijk van land, aanhanger en andere omstandigheden. Naleef de geldende wetgeving.