Breadcrumbs

Kinematische und dynamische Grenzen

Die folgende Tabelle zeigt die kinematischen und dynamischen Grenzen, die eingehalten werden müssen, um die Maschine für Personen und die Maschine selbst vollständig sicher zu betreiben.


Beschreibung


A1 Maximale Steigung beim Auf- und Absteigen mit den Modulen in Transportposition


kinematic-limits-01.png

Wert


Gemäß technischer Dokumentation des Traktors

Begrenzender Faktor


Gewicht auf der Vorderachse


A3 Maximaler Neigungswinkel des Traktors mit den Modulen in Arbeitsposition


kinematic-limits-03.png

± 3.2°

Abmessungen der Langlochbohrung an der Dreipunkt-Anhängerkupplung


H3 Entsprechende Höhe für einen Traktor mit Radstand von 2 m | 78 in

11 cm | 4,3 in

Identisch mit A3


A5 Maximaler Kippwinkel von Traktor und Modulen in Arbeitsposition


kinematic-limits-05.png

Gemäß technischer Dokumentation des Traktors

Traktorlimits


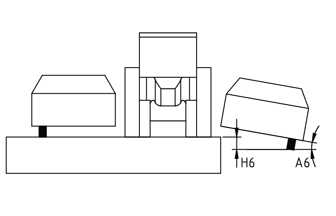
A6 Senkwinkel der seitlichen Module Dies ist der Winkel zwischen der Horizontalen und den seitlichen Modulen, wenn deren Räder den Boden nicht mehr berühren


kinematic-limits-06.png

12°

Modulstopps


H6 Vertikales Durchhängen an den Enden der Seitenmodule

42 cm | 16,5 Zoll

Identisch mit A6


A7 Maximaler Rollwinkel der Seitenmodule


kinematic-limits-07.png

± 10°

Die Sprühqualität ist reduziert, da benachbarte Module nicht mehr in die gleichen Richtungen sprühen Ab -10° nach unten ist die Überlappung der Düsen zu groß Ab +10° nach oben ist die Überlappung der Düsen zu klein


H7 Entsprechende Höhe

± 35 cm | 13,8 Zoll

Identisch mit A7


Fahrtrichtung bei Kurven, wenn Module in Arbeitsposition sind


kinematic-limits-08.png

Immer vorwärts

Stopps der Schwenkräder der Maschine


A9 Maximaler Neigungswinkel beim Parken, Module in Transportposition, unabhängig von der Maschinenausrichtung

dynamic-limits-01.png
kinematic-limits-09.png
kinematic-limits-10.png

3° (~5%)

Grenze der Haftung der Parkstützen

WARNUNGEN

  • Heben oder Senken Sie die Seitenmodule niemals, wenn die Maschine senkrecht zur Hangrichtung steht, da die Stöße zum Kippen der Maschine führen können

  • Wenn der Boden nicht eben ist und die Maschine abgekoppelt ist, muss sie in Richtung des Hangs geparkt werden Es ist untersagt, quer zur Steigung zu parken.


V1 Fahrgeschwindigkeit im Straßenverkehr bei Kopplung der Maschine an den Traktor.

dynamic-limits-03.png
  • CH: 40 km/h | 25 mph

  • FR: 25 km/h | 15 mph

Abhängig von Landesvorschriften, Traktortyp und sonstigen Bedingungen. Geltende gesetzliche Bestimmungen einhalten. In keinem Fall die Geschwindigkeit von 40 km/h | 25 mph überschreiten.


V2 Transportgeschwindigkeit im Straßenverkehr beim Transport der Maschine auf einem Anhänger.

dynamic-limits-04.png

CH: 100 km/h | 62 mph

Abhängig von Landesvorschriften, Anhängertyp und sonstigen Bedingungen. Geltende gesetzliche Bestimmungen einhalten.