Breadcrumbs

Kinematiske og dynamiske grænser

Følgende tabel viser de kinematiske og dynamiske grænser, som skal overholdes for at sikre fuldstændig sikkerhed for både personer og maskinen selv.


Beskrivelse


A1 Maksimal hældning ved op- og nedkørsel med modulerne i transportposition.


kinematic-limits-01.png

Værdi


Se traktorens tekniske dokumentation.

Begrænsende faktor


Vægt på forakslen.


A3 Maksimal stigningsvinkel på traktoren med modulerne i arbejdsposition.


kinematic-limits-03.png

± 3.2°

Dimensioner på det aflange hul på tre-punkts træk.


H3 Tilsvarende højde for en traktor med akselafstand på 2 m | 78 in.

11 cm | 4,3 in

Samme som A3.


A5 Maksimal kippvinkel på traktor og moduler i arbejdsposition.


kinematic-limits-05.png

Se traktorens tekniske dokumentation.

Traktorens grænser.


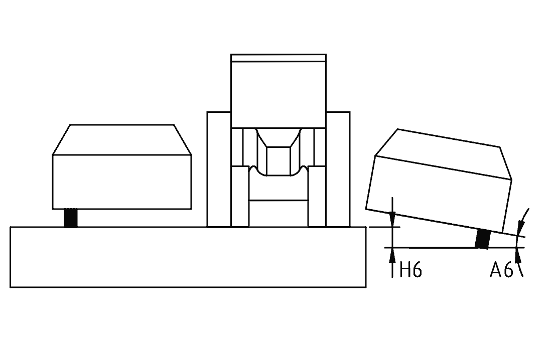
A6 Hængningsvinkel på sidemodulerne. Dette er vinklen mellem det vandrette plan og sidemodulerne, når deres hjul ikke længere rører jorden.


kinematic-limits-06.png

12°

Modulstoppere.


H6 Vertikal gennemhæng ved enderne af sidemodulerne.

42 cm | 16.5 in

Samme som A6.


A7 Maksimal rullevinkel for sidemodulerne.


kinematic-limits-07.png

± 10°

Sprøjtekvaliteten reduceres, fordi tilstødende moduler ikke længere sprøjter i samme retninger. Fra -10° og nedefter er overlapningen af stråler for stor. Fra +10° og opad er overlapningen af stråler for lille.


H7 Tilsvarende højde.

± 35 cm | 13.8 in

Samme som A7.


Kørselsretning i svingene, når moduler er i arbejdsposition.


kinematic-limits-08.png

Altid fremad.

Stoppestillinger for maskinens svingehjul.


A9 Maksimal hældningsvinkel under parkering, moduler i transportposition, uanset maskinens orientering.

dynamic-limits-01.png
kinematic-limits-09.png
kinematic-limits-10.png

3° (~5%)

Adhæsionsgrænse for parkeringsstativerne.

ADVARSLER

  • Løft eller sænk aldrig sidemodulerne, når maskinen står vinkelret på hældningsretningen, da stødene kan få maskinen til at vælte.

  • Hvis jorden ikke er jævn, og maskinen er koblet fra, skal den parkeres i hældningsretningen. Det er forbudt at parkere vinkelret på skråningen.


V1 Kørehastighed i vejtrafikken, når maskinen er koblet til traktoren.

dynamic-limits-03.png
  • CH : 40 km/h | 25 mph

  • FR : 25 km/h | 15 mph

Afhænger af land, traktor og øvrige forhold. Overhold den gældende lovgivning. Under ingen omstændigheder må hastigheden overstige 40 km/h | 25 mph.


V2 Kørehastighed i vejtrafikken, når maskinen transporteres på en trailer.

dynamic-limits-04.png

CH : 100 km/h | 62 mph

Afhænger af land, trailer og øvrige forhold. Overhold den gældende lovgivning.