Breadcrumbs

Limite cinematice și dinamice

Tabelul următor prezintă limitele cinematice și dinamice care trebuie respectate pentru a utiliza mașina în siguranță completă atât pentru persoane cât și pentru mașina însăși.


Descriere


A1 Panta maximă la urcarea și coborârea cu modulele în poziție de transport.


kinematic-limits-01.png

Valoare


Consultați documentația tehnică a tractorului.

Factor limitant


Greutatea pe axa față.


A3 Unghiul de înclinare longitudinală maxim al tractorului cu modulele în poziție de lucru.


kinematic-limits-03.png

± 3.2°

Dimensiunile găurii oblunge pe cuplarea cu trei puncte.


H3 Înălțimea corespunzătoare pentru un tractor cu ampatament de 2 m | 78 in.

11 cm | 4,3 in

Identic cu A3.


A5 Unghiul de înclinare laterală maxim al tractorului și modulelor în poziție de lucru.


kinematic-limits-05.png

Consultați documentația tehnică a tractorului.

Limitele tractorului.


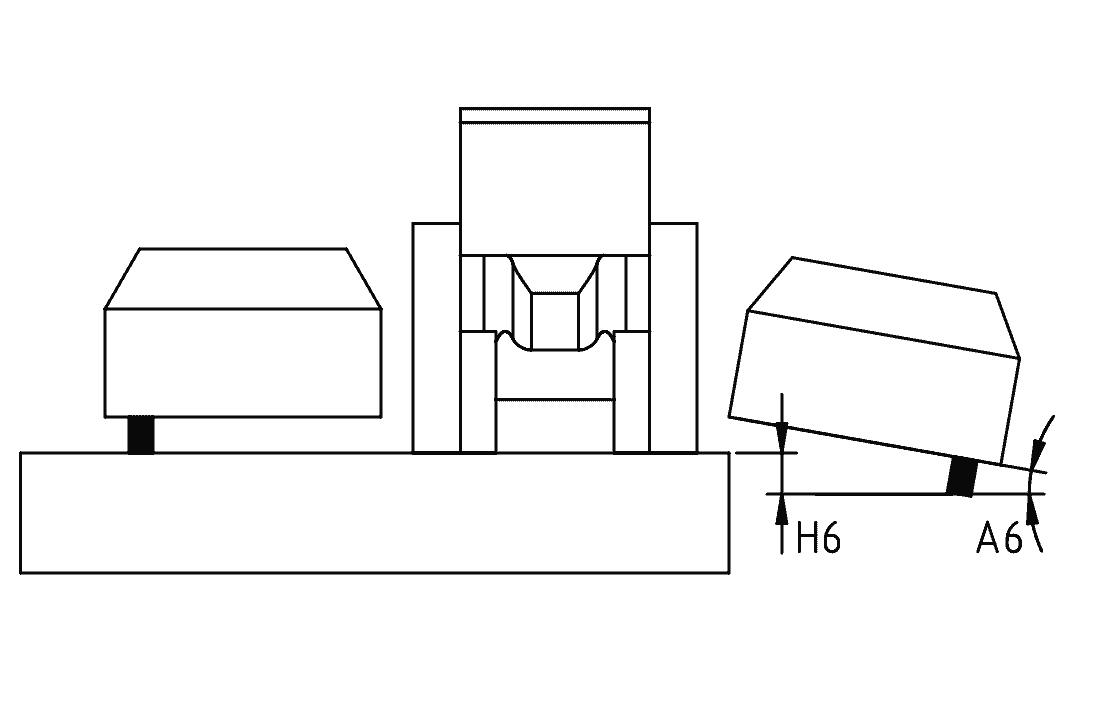
A6 Unghiul de săgeată al modulelor laterale. Acesta este unghiul dintre orizontală și modulele laterale atunci când roțile acestora nu mai ating solul.


kinematic-limits-06.png

12°

Limitatori ai modulelor.


H6 Săgeată verticală la capetele modulelor laterale.

42 cm | 16,5 in

La fel ca A6.


A7 Unghi maxim de înclinare laterală al modulelor laterale.


kinematic-limits-07.png

± 10°

Calitatea pulverizării se reduce deoarece modulele adiacente nu mai pulverizează în aceleași direcții. De la -10° în jos, suprapunerea jetuurilor este prea mare. De la +10° în sus, suprapunerea jetuurilor este prea mică.


H7 Înălțimea corespunzătoare.

± 35 cm | 13,8 in

La fel ca A7.


Direcția de deplasare în curbele când modulele sunt în poziție de lucru.


kinematic-limits-08.png

Întotdeauna înainte.

Opritori ai roților pivotante ale mașinii.


A9 Unghi maxim de înclinare a pantei când este parcată, module în poziție de transport, indiferent de orientarea mașinii.

dynamic-limits-01.png
kinematic-limits-09.png
kinematic-limits-10.png

3° (~5%)

Limita de aderență a suporturilor de parcare.

AVERTIZĂRI

  • Nu ridicați și nu coborâți niciodată modulele laterale când mașina este perpendiculară pe direcția pantei, deoarece șocurile ar putea cauza răsturnarea mașinii.

  • Dacă terenul nu este plan și mașina este detașată, aceasta trebuie parcată în direcția pantei. Este interzis să se parcheze perpendicular pe pantă.


V1 Viteză de deplasare în traficul rutier când mașina este cuplată la tractor.

dynamic-limits-03.png
  • CH : 40 km/h | 25 mph

  • FR : 25 km/h | 15 mph

Depinde de țară, tractor și alte condiții. Respectați legislația în vigoare. În orice caz, nu depășiți viteza de 40 km/h | 25 mph.


V2 Viteză de deplasare în traficul rutier când mașina este transportată pe o remorcă.

dynamic-limits-04.png

CH : 100 km/h | 62 mph

Depinde de țară, remorcă și alte condiții. Respectați legislația în vigoare.