Breadcrumbs

Granice kinematyczne i dynamiczne

Poniższa tabela przedstawia granice kinematyczne i dynamiczne, które muszą być respektowane w celu zapewnienia bezpiecznego użytkowania maszyny dla bezpieczeństwa zarówno ludzi, jak i samej maszyny.


Opis


A1 Maksymalne nachylenie podczas wjazdu i zjazdu z modułami w pozycji transportowej.


kinematic-limits-01.png

Wartość


Patrz dokumentacja techniczna ciągnika.

Czynnik ograniczający


Obciążenie przedniej osi.


A3 Maksymalny kąt pochylenia ciągnika z modułami w pozycji roboczej.


kinematic-limits-03.png

± 3.2°

Wymiary otworu podłużnego na zaczepu trójpunktowym.


H3 Odpowiadająca wysokość dla ciągnika o rozstawie osi 2 m | 78 in.

11 cm | 4,3 in

Identycznie jak A3.


A5 Maksymalny kąt przechylenia ciągnika i modułów w pozycji roboczej.


kinematic-limits-05.png

Patrz dokumentacja techniczna ciągnika.

Granice ciągnika.


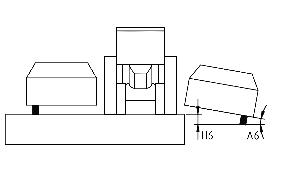
A6 Kąt ugięcia modułów bocznych. Jest to kąt między poziomem a modułami bocznymi, gdy ich koła nie dotykają już gruntu.


kinematic-limits-06.png

12°

Ograniczniki modułów.


H6 Ugięcie pionowe na końcach modułów bocznych.

42 cm | 16,5 in

Takie samo jak A6.


A7 Maksymalny kąt przechyłu modułów bocznych.


kinematic-limits-07.png

± 10°

Jakość oprysku jest zmniejszona, ponieważ sąsiednie moduły nie opryskują już w tych samych kierunkach. Od -10° w dół pokrycie strumieni jest zbyt duże. Od +10° w górę pokrycie strumieni jest zbyt małe.


H7 Odpowiadająca wysokość.

± 35 cm | 13,8 in

Takie samo jak A7.


Kierunek jazdy w zakrętach, gdy moduły znajdują się w pozycji roboczej.


kinematic-limits-08.png

Zawsze do przodu.

Ograniczniki kół obrotowych maszyny.


A9 Maksymalny kąt nachylenia podczas parkowania, moduły w pozycji transportowej, niezależnie od orientacji maszyny.

dynamic-limits-01.png
kinematic-limits-09.png
kinematic-limits-10.png

3° (~5%)

Limit przyczepności podpór parkingowych.

OSTRZEŻENIA

  • Nigdy nie podnosić ani nie opuszczać modułów bocznych, gdy maszyna jest ustawiona prostopadle do kierunku nachylenia terenu, ponieważ wstrząsy mogą spowodować przewrócenie maszyny.

  • Jeśli grunt jest nierówny i maszyna jest odłączona, musi być zaparkowana w kierunku nachylenia terenu. Zabrania się parkowania prostopadle do nachylenia.


V1 Prędkość jazdy w ruchu drogowym, gdy maszyna jest połączona z ciągnikiem.

dynamic-limits-03.png
  • CH : 40 km/h | 25 mph

  • FR : 25 km/h | 15 mph

Zależy od kraju, ciągnika i innych warunków. Należy respektować obowiązujące ustawodawstwo. W każdym przypadku nie przekraczaj prędkości 40 km/h | 25 mph.


V2 Prędkość ruchu w ruchu drogowym, gdy maszyna jest transportowana na przyczepie.

dynamic-limits-04.png

CH : 100 km/h | 62 mph

Zależy od kraju, przyczepy i innych warunków. Należy respektować obowiązujące ustawodawstwo.