Breadcrumbs

Limiti cinematici e dinamici

La seguente tabella mostra i limiti cinematici e dinamici che devono essere rispettati al fine di utilizzare la macchina in completa sicurezza sia per le persone che per la macchina stessa.


Descrizione


A1 Pendenza massima in salita e discesa con i moduli in posizione di trasporto.


kinematic-limits-01.png

Valore


Consultare la documentazione tecnica del trattore.

Fattore limitante


Carico sull'asse anteriore.


A3 Angolo di assetto massimo del trattore con i moduli in posizione di lavoro.


kinematic-limits-03.png

± 3.2°

Dimensioni del foro oblugo sull'attacco a tre punti.


H3 Altezza corrispondente per un trattore con passo di 2 m | 78 in.

11 cm | 4,3 in

Come A3.


A5 Angolo di inclinazione massima del trattore e dei moduli in posizione di lavoro.


kinematic-limits-05.png

Consultare la documentazione tecnica del trattore.

Limiti del trattore.


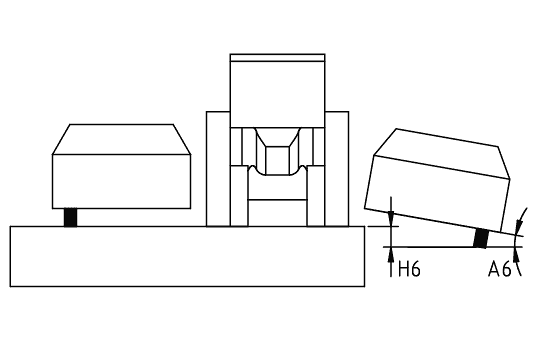
A6 Angolo di cedimento dei moduli laterali. È l'angolo tra l'orizzontale e i moduli laterali quando le loro ruote non toccano più il terreno.


kinematic-limits-06.png

12°

Arresti dei moduli.


H6 Cedimento verticale alle estremità dei moduli laterali.

42 cm | 16,5 in

Come A6.


A7 Angolo di rollio massimo dei moduli laterali.


kinematic-limits-07.png

± 10°

La qualità della polverizzazione è ridotta perché i moduli adiacenti non spruzzano più nelle stesse direzioni. Da -10° verso il basso, la sovrapposizione dei getti è eccessiva. Da +10° verso l'alto, la sovrapposizione dei getti è insufficiente.


H7 Altezza corrispondente.

± 35 cm | 13,8 in

Come A7.


Direzione di marcia in curva quando i moduli sono in posizione di lavoro.


kinematic-limits-08.png

Sempre in avanti.

Arresti delle ruote girevoli della macchina.


A9 Angolo di pendenza massimo quando parcheggiata, moduli in posizione di trasporto, indipendentemente dall'orientamento della macchina.

dynamic-limits-01.png
kinematic-limits-09.png
kinematic-limits-10.png

3° (~5%)

Limite di aderenza dei supporti di parcheggio.

AVVERTENZE

  • Non alzare né abbassare mai i moduli laterali quando la macchina è perpendicolare alla direzione della pendenza, poiché gli urti potrebbero causare il ribaltamento della macchina.

  • Se il terreno non è piano e la macchina è scollegata, deve essere parcheggiata nella direzione della pendenza. È vietato parcheggiare in posizione perpendicolare al pendio.


V1 Velocità di guida nel traffico stradale quando la macchina è accoppiata al trattore.

dynamic-limits-03.png
  • CH : 40 km/h | 25 mph

  • FR : 25 km/h | 15 mph

Dipende dal paese, dal trattore e da altre condizioni. Rispettare la legislazione vigente. In ogni caso, non superare la velocità di 40 km/h | 25 mph.


V2 Velocità di traffico nel traffico stradale quando la macchina è trasportata su rimorchio.

dynamic-limits-04.png

CH : 100 km/h | 62 mph

Dipende dal paese, dal rimorchio e da altre condizioni. Rispettare la legislazione vigente.