Breadcrumbs

Limites cinématiques et dynamiques

Le tableau suivant présente les limites cinématiques et dynamiques à respecter impérativement pour assurer la sécurité des personnes et de la machine.


Description


A1 Pente maximale en montée et descente avec les modules en position de transport


kinematic-limits-01.png

Valeur


Consulter la documentation technique du tracteur

Facteur limitant


Charge sur l'essieu avant


A3 Angle d'inclinaison maximal du tracteur avec les modules en position de travail


kinematic-limits-03.png

± 3.2°

Dimensions du trou oblong sur l'attelage trois points


H3 Hauteur correspondante pour un tracteur avec un empattement de 2 m | 78 pouces

11 cm | 4,3 pouces

Identique à A3


A5 Angle de basculement maximal du tracteur et des modules en position de travail


kinematic-limits-05.png

Consulter la documentation technique du tracteur

Limites du tracteur


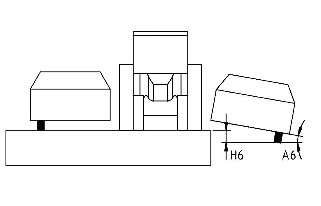
A6 Angle d'affaissement des modules latéraux Angle entre l'horizontale et les modules latéraux lorsque leurs roues ne touchent plus le sol


kinematic-limits-06.png

12°

Arrêts des modules


H6 Affaissement vertical aux extrémités des modules latéraux.

42 cm | 16,5 po

Identique à A6.


A7 Angle de roulis maximal des modules latéraux.


kinematic-limits-07.png

± 10°

La qualité de pulvérisation est réduite car les modules adjacents ne pulvérisent plus dans la même direction. À partir de -10° vers le bas, le chevauchement des jets est trop important. À partir de +10° vers le haut, le chevauchement des jets est trop faible.


H7 Hauteur correspondante.

± 35 cm | 13,8 po

Identique à A7.


Direction de déplacement dans les virages lorsque les modules sont en position de travail.


kinematic-limits-08.png

Toujours vers l'avant.

Arrêts des roues pivotantes de la machine.


A9 Angle maximal de pente en stationnement, modules en position de transport, quelle que soit l'orientation de la machine.

dynamic-limits-01.png
kinematic-limits-09.png
kinematic-limits-10.png

3° (~5%)

Limite d'adhérence des supports de stationnement.

AVERTISSEMENTS

  • Ne jamais lever ni abaisser les modules latéraux lorsque la machine est perpendiculaire à la direction de la pente, car les à-coups pourraient provoquer son renversement.

  • Si le terrain n'est pas régulier et que la machine est détachée, la garer dans le sens de la pente. Il est interdit de stationner perpendiculairement à la pente.


V1 Vitesse de conduite sur route lorsque la machine est attelée au tracteur.

dynamic-limits-03.png
  • CH : 40 km/h | 25 mph

  • FR : 25 km/h | 15 mph

Varie selon le pays, le tracteur et d'autres conditions. Respecter la législation en vigueur. En aucun cas, ne pas dépasser la vitesse de 40 km/h | 25 mph.


V2 Vitesse de circulation routière lors du transport de la machine sur une remorque.

dynamic-limits-04.png

CH : 100 km/h | 62 mph

Varie selon le pays, la remorque et d'autres conditions. Respecter la législation en vigueur.