Breadcrumbs

Límites cinemáticos y dinámicos

La siguiente tabla muestra los límites cinemáticos y dinámicos que deben respetarse para utilizar la máquina con total seguridad, tanto para las personas como para la máquina.


Descripción


A1 Pendiente máxima al ascender y descender con los módulos en posición de transporte


kinematic-limits-01.png

Valor


Consulte la documentación técnica del tractor

Factor limitante


Peso sobre el eje delantero


A3 Ángulo máximo de inclinación longitudinal del tractor con los módulos en posición de trabajo


kinematic-limits-03.png

± 3.2°

Dimensiones del agujero oblongo en el enganche de tres puntos


H3 Altura correspondiente para un tractor con distancia entre ejes de 2 m | 78 in

11 cm | 4.3 in

Igual que A3


A5 Ángulo máximo de inclinación del tractor y los módulos en posición de trabajo


kinematic-limits-05.png

Consulte la documentación técnica del tractor

Límites del tractor


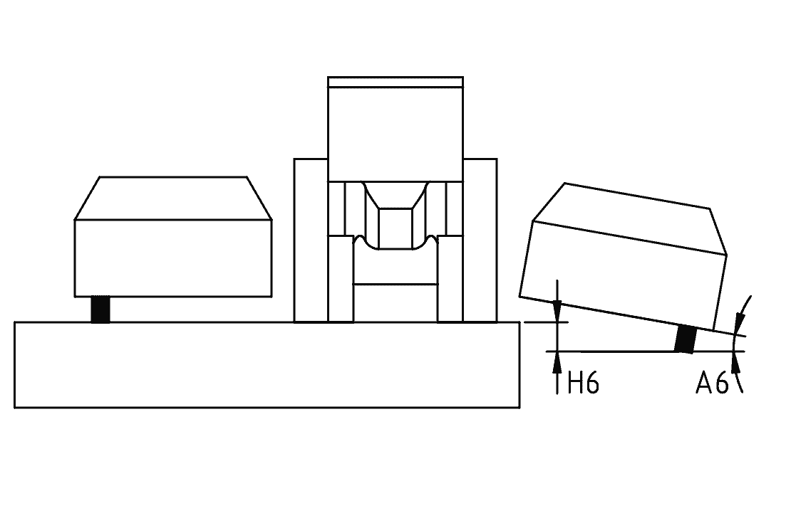
A6 Ángulo de descenso de los módulos laterales Es el ángulo entre la horizontal y los módulos laterales cuando sus ruedas ya no tocan el suelo


kinematic-limits-06.png

12°

Topes de módulos


H6 Descolgamiento vertical en los extremos de los módulos laterales.

42 cm | 16,5 pulg

Igual que A6.


A7 Ángulo máximo de balanceo de los módulos laterales.


kinematic-limits-07.png

± 10°

La calidad de pulverización se reduce porque los módulos adyacentes ya no pulverizan en la misma dirección. Por debajo de -10°, el solape de los chorros es demasiado grande. Por encima de +10°, el solape de los chorros es demasiado pequeño.


H7 Altura correspondiente.

± 35 cm | 13,8 pulg

Igual que A7.


Dirección de desplazamiento en giros cuando los módulos están en posición de trabajo.


kinematic-limits-08.png

Siempre hacia adelante.

Paradas de las ruedas giratorias de la máquina.


A9 Ángulo máximo de pendiente en estacionamiento, módulos en posición de transporte, independientemente de la orientación de la máquina.

dynamic-limits-01.png
kinematic-limits-09.png
kinematic-limits-10.png

3° (~5%)

Límite de adherencia de los soportes de estacionamiento.

ADVERTENCIAS

  • Nunca elevar o bajar los módulos laterales cuando la máquina esté perpendicular a la dirección de la pendiente, ya que los golpes podrían provocar el vuelco de la máquina.

  • Si el terreno no es uniforme y la máquina está desacoplada, debe estacionarse en la dirección de la pendiente. Está prohibido estacionar en perpendicular a la pendiente.


V1 Velocidad de circulación en tráfico por carretera cuando la máquina está acoplada al tractor.

dynamic-limits-03.png
  • CH: 40 km/h | 25 mph

  • FR: 25 km/h | 15 mph

Depende del país, tractor y otras condiciones. Respete la legislación vigente. En cualquier caso, no supere la velocidad de 40 km/h | 25 mph.


V2 Velocidad de circulación en carretera cuando la máquina se transporta en un remolque.

dynamic-limits-04.png

CH: 100 km/h | 62 mph

Depende del país, remolque y otras condiciones. Respete la legislación vigente.