Breadcrumbs

Кінематичні та динамічні обмеження

У таблиці нижче наведені кінематичні та динамічні обмеження, які необхідно дотримуватися для забезпечення безпечної експлуатації машини як для людей, так і для самої машини.


Опис


A1 Максимальний ухил при підйомі та спуску з модулями в положенні транспортування.


kinematic-limits-01.png

Значення


Див. технічну документацію трактора.

Обмежувальний фактор


Навантаження на передню вісь.


A3 Максимальний кут тангажу трактора з модулями в робочому положенні.


kinematic-limits-03.png

± 3.2°

Розміри овального отвору на тягово-зчіпному пристрої.


H3 Відповідна висота для трактора з розстанню осей 2 м | 78 in.

11 см | 4,3 in

Те саме, що A3.


A5 Максимальний кут крену трактора та модулів у робочому положенні.


kinematic-limits-05.png

Див. технічну документацію трактора.

Обмеження трактора.


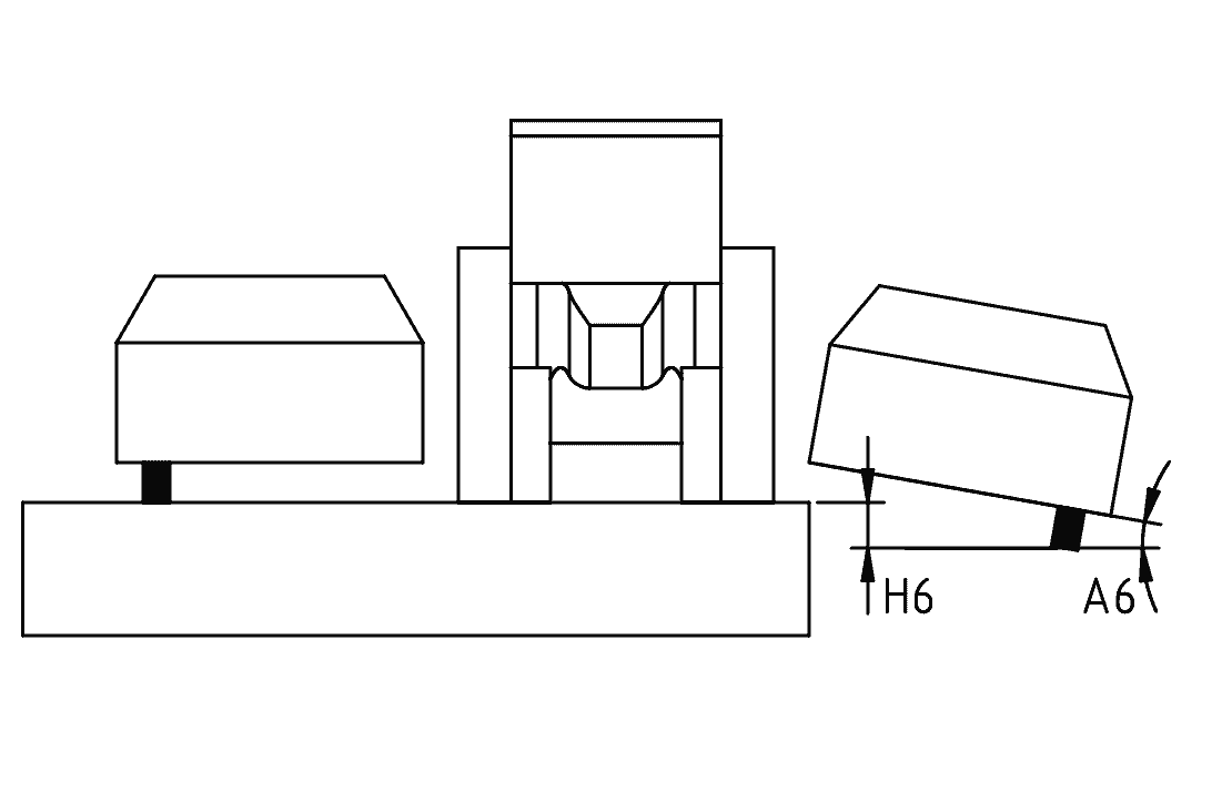
A6 Кут провисання бічних модулів. Це кут між горизонталлю та бічними модулями, коли їхні колеса більше не торкаються землі.


kinematic-limits-06.png

12°

Упори модулів.


H6 Вертикальне провисання на кінцях бічних модулів.

42 см | 16,5 дюйм

Те саме, що й A6.


A7 Максимальний кут крену бічних модулів.


kinematic-limits-07.png

± 10°

Якість розпилювання зменшується, оскільки сусідні модулі більше не розпилюють у однакових напрямках. При -10° і нижче перекриття струменів занадто велике. При +10° і вище перекриття струменів занадто мале.


H7 Відповідна висота.

± 35 см | 13,8 дюйм

Те саме, що й A7.


Напрямок руху під час повороту при розташуванні модулів у робочому положенні.


kinematic-limits-08.png

Завжди вперед.

Упори поворотних коліс машини.


A9 Максимальний кут нахилу під час припаркування, модулі в транспортному положенні, незалежно від орієнтації машини.

dynamic-limits-01.png
kinematic-limits-09.png
kinematic-limits-10.png

3° (~5%)

Межа адгезії опорних ніжок припаркування.

ПОПЕРЕДЖЕННЯ

  • Заборонено піднімати або опускати бічні модулі, коли машина розташована перпендикулярно до напрямку нахилу, оскільки поштовхи можуть призвести до перекидання машини.

  • Якщо грунт нерівний і машина відчеплена, вона обов'язково повинна бути припаркована в напрямку схилу. Заборонено паркувати машину перпендикулярно до схилу.


V1 Швидкість руху на дорозі при приєднанні машини до трактора.

dynamic-limits-03.png
  • CH : 40 км/год | 25 миль/год

  • FR : 25 км/год | 15 миль/год

Залежить від країни, трактора та інших умов. Дотримуйтесь чинного законодавства. У будь-якому разі не перевищуйте швидкість 40 км/год | 25 миль/год.


V2 Швидкість руху на дорозі при транспортуванні машини на причепі.

dynamic-limits-04.png

CH : 100 км/год | 62 миль/год

Залежить від країни, причепа та інших умов. Дотримуйтесь чинного законодавства.