Breadcrumbs

Kinematik ve Dinamik Sınırlar

Aşağıdaki tablo, makinenin hem insanlar hem de makine kendisi için tam güvenlik içinde kullanılması amacıyla gözetilmesi gereken kinematik ve dinamik sınırları göstermektedir.


Açıklama


A1 Modüller taşıma konumundayken yukarı ve aşağı eğimlerde maksimum eğim açısı.


kinematic-limits-01.png

Değer


Traktor teknik dokümantasyonuna bakınız.

Sınırlayıcı Faktör


Ön aksa etki eden ağırlık.


A3 Modüller çalışma konumundayken traktorun maksimum pitch açısı.


kinematic-limits-03.png

± 3.2°

Üç nokta bağlantısı üzerindeki oval deliğin boyutları.


H3 2 m | 78 in tekerlek tabanına sahip bir traktor için karşılık gelen yükseklik.

11 cm | 4.3 in

A3 ile aynı.


A5 Çalışma konumundaki traktor ve modüllerin maksimum roll açısı.


kinematic-limits-05.png

Traktor teknik dokümantasyonuna bakınız.

Traktor sınırları.


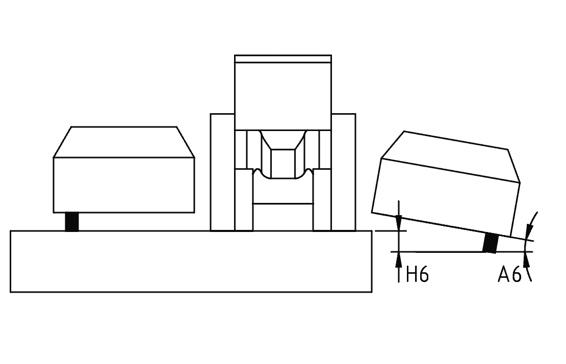
A6 Yan modüllerin sag açısı. Yan modüllerin tekerekleri artık yere değmediğinde, yatay düzlem ile yan modüller arasındaki açıdır.


kinematic-limits-06.png

12°

Modül durakları.


H6 Yan modüllerin uçlarında dikey çöküntü.

42 cm | 16.5 in

A6 ile aynı.


A7 Yan modüllerin maksimum roll açısı.


kinematic-limits-07.png

± 10°

Komşu modüller artık aynı yönlerde ilaçlama yapmadığından ilaçlama kalitesi azalır. −10° altında jet bindirmesi çok fazladır. +10° üstünde jet bindirmesi çok azdır.


H7 Karşılık gelen yükseklik.

± 35 cm | 13.8 in

A7 ile aynı.


Modüller çalışma konumundayken virajlarda hareket yönü.


kinematic-limits-08.png

Her zaman ileri.

Makinenin döner tekerleklerinin durağı.


A9 Park edildiğinde maksimum eğim açısı, modüller taşıma konumunda, makine yönelimine bakılmaksızın.

dynamic-limits-01.png
kinematic-limits-09.png
kinematic-limits-10.png

3° (~5%)

Park standlarının yapışma sınırı.

UYARILAR

  • Makine eğimin yönüne dik konumdayken yan modülleri asla kaldırmayın veya indirmeyin; ani hareketler makinenin devrilmesine neden olabilir.

  • Arazi düz değilse ve makine bağlı değilse, eğim yönüne doğru park edilmelidir. Eğime dik açılı olarak park etmek yasaktır.


V1 Makine traktöre bağlı olduğunda karayolu trafiğindeki sürüş hızı.

dynamic-limits-03.png
  • CH : 40 km/h | 25 mph

  • FR : 25 km/h | 15 mph

Ülke, traktör ve diğer koşullara bağlıdır. Yürürlükteki mevzuata uyunuz. Her durumda, 40 km/h | 25 mph hızını aşmayınız.


V2 Makine römorkta taşındığında karayolu trafiğindeki trafik hızı.

dynamic-limits-04.png

CH : 100 km/h | 62 mph

Ülke, römork ve diğer koşullara bağlıdır. Yürürlükteki mevzuata uyunuz.