Breadcrumbs

Limites Cinemáticos e Dinâmicos

A tabela seguinte apresenta os limites cinemáticos e dinâmicos que devem ser respeitados para utilizar a máquina em segurança completa, tanto para as pessoas como para a própria máquina.


Descrição


A1 Inclinação máxima na subida e descida com os módulos em posição de transporte.


kinematic-limits-01.png

Valor


Consulte a documentação técnica do trator.

Fator Limitante


Carga no eixo dianteiro.


A3 Ângulo de inclinação longitudinal máximo do trator com os módulos em posição de trabalho.


kinematic-limits-03.png

± 3.2°

Dimensões do orifício alongado no engate de três pontos.


H3 Altura correspondente para um trator com distância entre eixos de 2 m | 78 polegadas.

11 cm | 4,3 polegadas

Igual a A3.


A5 Ângulo de inclinação transversal máximo do trator e dos módulos em posição de trabalho.


kinematic-limits-05.png

Consulte a documentação técnica do trator.

Limites do trator.


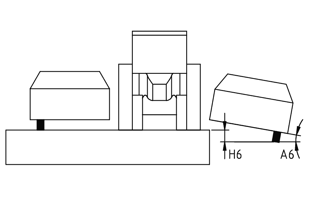
A6 Ângulo de pendência dos módulos laterais. É o ângulo entre a horizontal e os módulos laterais quando as suas rodas já não tocam o solo.


kinematic-limits-06.png

12°

Batentes dos módulos.


H6 Flecha vertical nas extremidades dos módulos laterais.

42 cm | 16,5 pol

Igual a A6.


A7 Ângulo de inclinação transversal máximo dos módulos laterais.


kinematic-limits-07.png

± 10°

A qualidade de pulverização é reduzida porque os módulos adjacentes já não pulverizam nas mesmas direcções. A partir de -10°, a sobreposição dos jatos é demasiado grande. A partir de +10°, a sobreposição dos jatos é demasiado pequena.


H7 Altura correspondente.

± 35 cm | 13,8 pol

Igual a A7.


Direcção de deslocamento em curvas quando os módulos estão em posição de trabalho.


kinematic-limits-08.png

Sempre para a frente.

Batentes das rodas giratórias da máquina.


A9 Ângulo de inclinação máximo do terreno quando estacionado, módulos em posição de transporte, independentemente da orientação da máquina.

dynamic-limits-01.png
kinematic-limits-09.png
kinematic-limits-10.png

3° (~5%)

Limite de aderência dos calços de estacionamento.

AVISOS

  • Nunca levante nem baixe os módulos laterais quando a máquina estiver perpendicular à direcção da inclinação, pois os solavancos podem causar o capotamento da máquina.

  • Se o terreno não for plano e a máquina estiver desacoplada, deve ser estacionada na direcção da inclinação. É proibido estacionar perpendicularmente à encosta.


V1 Velocidade de condução em tráfego rodoviário quando a máquina está acoplada ao trator.

dynamic-limits-03.png
  • CH : 40 km/h | 25 mph

  • FR : 25 km/h | 15 mph

Depende do país, trator e outras condições. Respeite a legislação em vigor. Em qualquer caso, não exceda a velocidade de 40 km/h | 25 mph.


V2 Velocidade de tráfego em tráfego rodoviário quando a máquina é transportada num reboque.

dynamic-limits-04.png

CH : 100 km/h | 62 mph

Depende do país, reboque e outras condições. Respeite a legislação em vigor.