Breadcrumbs

Kinematikai és dinamikai korlátok

Az alábbi táblázat azokat a kinematikai és dinamikai korlátokat mutatja, amelyeket be kell tartani ahhoz, hogy a gépet az emberek és a gép biztonsága szempontjából egyaránt biztonságosan lehessen használni.


Leírás


A1 Maximális lejtésszög felfelé és lefelé haladáskor a modulok szállítási helyzetében.


kinematic-limits-01.png

Érték


Lásd a traktor műszaki dokumentációját.

Korlátozó tényező


Az első tengely terhelése.


A3 A traktor maximális dőlésszöge a modulok munkavégzési helyzetében.


kinematic-limits-03.png

± 3.2°

Az ovális furat méretei a hárompontos vontatóberendezésen.


H3 Megfelelő magasság egy 2 m | 78 in tengelytávolságú traktor esetén.

11 cm | 4,3 in

Azonos az A3-mal.


A5 A traktor és a modulok maximális billentési szöge munkavégzési helyzetben.


kinematic-limits-05.png

Lásd a traktor műszaki dokumentációját.

Traktor korlátai.


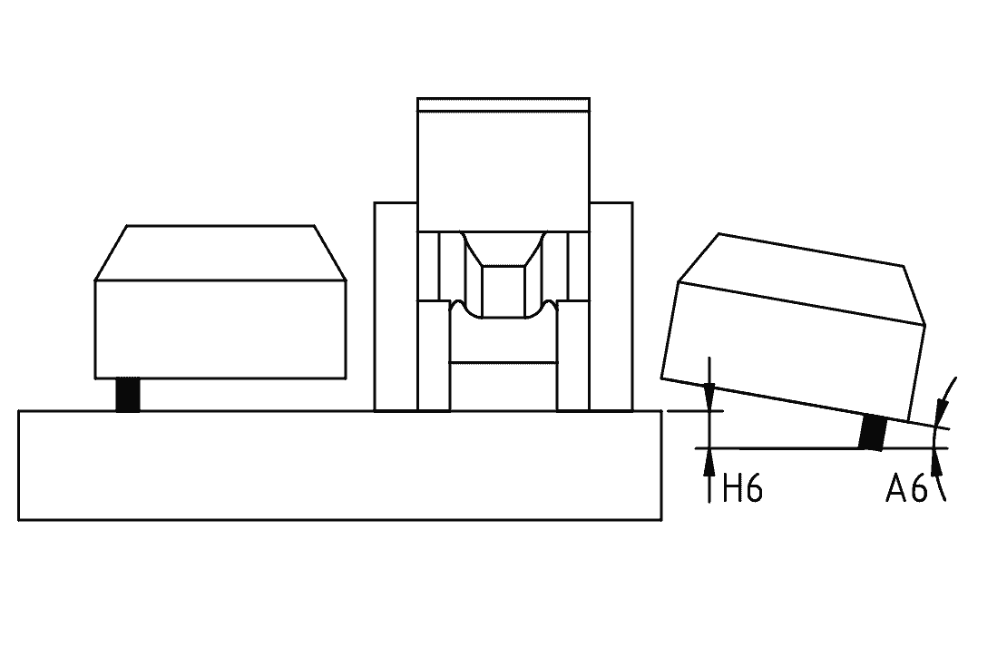
A6 Az oldalsó modulok süllyedési szöge. Ez az a szög a vízszintes és az oldalsó modulok között, amikor azok kerekei már nem érintik a talajt.


kinematic-limits-06.png

12°

Modul állófék.


H6 Függőleges behajlás az oldalsó modulok végeinél.

42 cm | 16,5 in

Megegyezik az A6-tal.


A7 Az oldalsó modulok maximális billentési szöge.


kinematic-limits-07.png

± 10°

A permetezési minőség csökken, mivel a szomszédos modulok már nem ugyanabba az irányba permeteznek. −10° alatt a sugarak átfedése túl nagy. +10° fölött a sugarak átfedése túl kicsi.


H7 Megfelelő magasság.

± 35 cm | 13,8 in

Megegyezik az A7-tel.


Haladási irány kanyarokban, amikor a modulok munkavégzési helyzetben vannak.


kinematic-limits-08.png

Mindig előre.

A gép forgókerekei megállása.


A9 Maximális lejtési szög parkoláskor, modulok szállítási helyzetben, a gép tájolásától függetlenül.

dynamic-limits-01.png
kinematic-limits-09.png
kinematic-limits-10.png

3° (~5%)

A parkolóállványok tapadási határa.

FIGYELMEZTETÉSEK

  • Soha ne emelje vagy süllyessze az oldalsó modulokat, ha a gép merőleges a lejtés irányára, mivel a rázkódások a gép felborulásához vezethetnek.

  • Ha a terep nem egyenletes és a gép le van választva, azt a lejtés irányában kell parkolni. Tilos a lejtőre merőlegesen parkolni.


V1 Közúti közlekedésben mért sebesség, amikor a gép a traktorhoz csatolva van.

dynamic-limits-03.png
  • CH : 40 km/h | 25 mph

  • FR : 25 km/h | 15 mph

Az ország, a traktor és egyéb feltételek függvényében. Tartsa be a hatályos jogszabályokat. Minden esetben ne haladja meg a 40 km/h | 25 mph sebességet.


V2 Közúti közlekedésben mért sebesség, amikor a gépet pótkocsira szállítják.

dynamic-limits-04.png

CH : 100 km/h | 62 mph

Az ország, a pótkocsi és egyéb feltételek függvényében. Tartsa be a hatályos jogszabályokat.