Breadcrumbs

Κινηματικά και δυναμικά όρια

Ο παρακάτω πίνακας παρουσιάζει τα κινηματικά και δυναμικά όρια που πρέπει να τηρούνται προκειμένου να χρησιμοποιηθεί το μηχάνημα με πλήρη ασφάλεια τόσο για τα άτομα όσο και για το ίδιο το μηχάνημα.


Περιγραφή


A1 Μέγιστη κλίση κατά την ανάβαση και κατάβαση με τις μονάδες σε θέση μεταφοράς.


kinematic-limits-01.png

Τιμή


Ανατρέξτε στην τεχνική τεκμηρίωση του ελκυστήρα.

Περιοριστικός παράγοντας


Βάρος στον εμπρόσθιο άξονα.


A3 Μέγιστη γωνία κίλισης του ελκυστήρα με τις μονάδες σε θέση εργασίας.


kinematic-limits-03.png

± 3.2°

Διαστάσεις της επιμήκους οπής στο σύστημα ρυμούλκησης τριών σημείων.


H3 Αντίστοιχο ύψος για ελκυστήρα με μεταξόνιο 2 m | 78 in.

11 cm | 4.3 in

Ίδιο με A3.


A5 Μέγιστη γωνία κλίσης του ελκυστήρα και των μονάδων σε θέση εργασίας.


kinematic-limits-05.png

Ανατρέξτε στην τεχνική τεκμηρίωση του ελκυστήρα.

Όρια του ελκυστήρα.


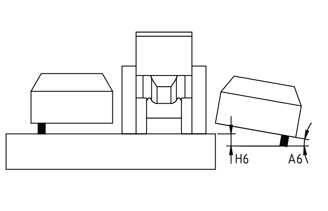
A6 Γωνία κάμψης των πλάγιων μονάδων. Αυτή είναι η γωνία μεταξύ του οριζοντίου επιπέδου και των πλάγιων μονάδων, όταν οι τροχοί τους δεν έρχονται πλέον σε επαφή με το έδαφος.


kinematic-limits-06.png

12°

Στοπ μονάδων.


H6 Κατακόρυφη παραμόρφωση στα άκρα των πλευρικών μονάδων.

42 cm | 16.5 in

Ίδια με A6.


A7 Μέγιστη γωνία κλίσης των πλευρικών μονάδων.


kinematic-limits-07.png

± 10°

Η ποιότητα ψεκασμού μειώνεται επειδή οι παρακείμενες μονάδες δεν ψεκάζουν πλέον προς την ίδια κατεύθυνση. Από -10° και κάτω, η επικάλυψη των πίδακων είναι υπερβολικά μεγάλη. Από +10° και πάνω, η επικάλυψη των πίδακων είναι υπερβολικά μικρή.


H7 Αντίστοιχο ύψος.

± 35 cm | 13.8 in

Ίδια με A7.


Κατεύθυνση κίνησης στις στροφές όταν οι μονάδες είναι σε θέση εργασίας.


kinematic-limits-08.png

Πάντα προς τα εμπρός.

Στηρίγματα των περιστρεφόμενων τροχών του μηχανήματος.


A9 Μέγιστη γωνία κλίσης κατά την στάθμευση, μονάδες σε θέση μεταφοράς, ανεξάρτητα από τον προσανατολισμό του μηχανήματος.

dynamic-limits-01.png
kinematic-limits-09.png
kinematic-limits-10.png

3° (~5%)

Όριο πρόσφυσης των βάσεων στάθμευσης.

ΠΡΟΕΙΔΟΠΟΙΉΣΕΙΣ

  • ΜΗ ΑΝΥΨΩΝΕΤΕΣ ή χαμηλώνετε τις πλευρικές μονάδες όταν το μηχάνημα είναι κάθετο προς την κατεύθυνση της κλίσης, καθώς τα σοκ θα μπορούσαν να προκαλέσουν την ανατροπή του μηχανήματος.

  • Εάν το έδαφος δεν είναι ομαλό και το μηχάνημα είναι αποσυνδεδεμένο, πρέπει να σταθμεύσει προς την κατεύθυνση της κλίσης. Απαγορεύεται το παρκάρισμα κάθετα προς την κλίση.


V1 Ταχύτητα οδήγησης κατά τη διακίνηση στο δρόμο όταν το μηχάνημα είναι συζευγμένο με το τρακτέρ.

dynamic-limits-03.png
  • CH : 40 km/h | 25 mph

  • FR : 25 km/h | 15 mph

Εξαρτάται από τη χώρα, το τρακτέρ και άλλες συνθήκες. Τηρείτε την ισχύουσα νομοθεσία. Σε κάθε περίπτωση, δεν επιτρέπεται η υπέρβαση της ταχύτητας των 40 km/h | 25 mph.


V2 Ταχύτητα διακίνησης κατά τη διακίνηση στο δρόμο όταν το μηχάνημα μεταφέρεται επί ρυμουλκού.

dynamic-limits-04.png

CH : 100 km/h | 62 mph

Εξαρτάται από τη χώρα, το ρυμουλκό και άλλες συνθήκες. Τηρείτε την ισχύουσα νομοθεσία.