Breadcrumbs

Kinematické a dynamické limity

Následující tabulka uvádí kinematické a dynamické limity, které musí být dodržovány, aby bylo zajištěno bezpečné používání stroje pro lidi i pro samotný stroj.


Popis


A1 Maximální sklon při stoupání a sjíždění se stroje s moduly v transportní poloze.


kinematic-limits-01.png

Hodnota


Viz technická dokumentace traktoru.

Omezující faktor


Zatížení přední nápravy.


A3 Maximální úhel sklonu traktoru s moduly v pracovní poloze.


kinematic-limits-03.png

± 3.2°

Rozměry podlouhlého otvoru na třech bodech závěsu.


H3 Odpovídající výška pro traktor s rozvorem náprav 2 m | 78 in.

11 cm | 4,3 in

Stejné jako A3.


A5 Maximální úhel bočního náklonu traktoru a modulů v pracovní poloze.


kinematic-limits-05.png

Viz technická dokumentace traktoru.

Limity traktoru.


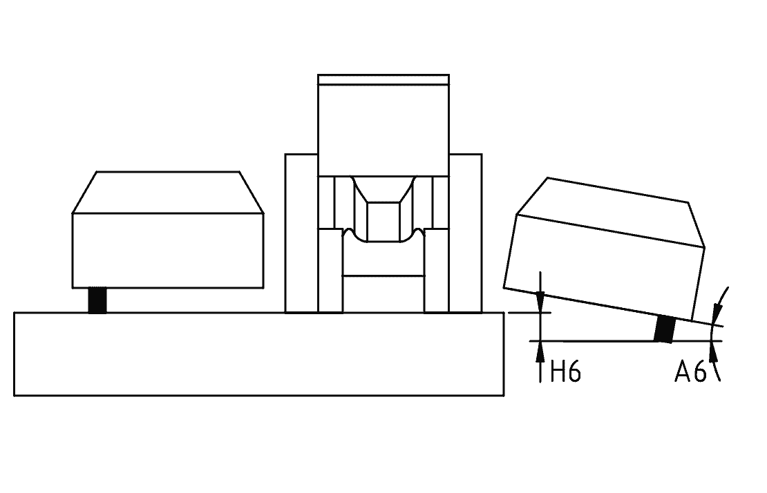
A6 Úhel prověšení bočních modulů. Jedná se o úhel mezi horizontálou a bočními moduly v okamžiku, kdy jejich kola již nedotýkají země.


kinematic-limits-06.png

12°

Zarážky modulů.


H6 Vertikální prověšení na koncích bočních modulů.

42 cm | 16.5 in

Stejně jako A6.


A7 Maximální úhel náklonu bočních modulů.


kinematic-limits-07.png

± 10°

Kvalita postřiku se snižuje, protože sousední moduly již nepostřikují ve stejných směrech. Od -10° dolů je překrytí trysek příliš velké. Od +10° nahoru je překrytí trysek příliš malé.


H7 Odpovídající výška.

± 35 cm | 13.8 in

Stejně jako A7.


Směr jízdy v zatáčkách, když jsou moduly v pracovní poloze.


kinematic-limits-08.png

Vždy vpřed.

Zarážky otáčivých kol stroje.


A9 Maximální úhel sklonu při parkování, moduly v transportní poloze, bez ohledu na orientaci stroje.

dynamic-limits-01.png
kinematic-limits-09.png
kinematic-limits-10.png

3° (~5%)

Limit přilnutí parkovacích podpěr.

VAROVÁNÍ

  • NIKDY NADZVEDÁVEJTE ANI NESPOUŠTĚJTE BOČNÍ MODULY, KDYŽ JE STROJ KOLMÝ NA SMĚR SVAHU, PROTOŽE OTŘESY BY MOHLY ZPŮSOBIT PŘEVRÁCENÍ STROJE.

  • POKUD TERÉN NENÍ ROVNÝ A STROJ JE ODPOJEN, MUSÍ BÝT ZAPARKOVÁN VE SMĚRU SVAHU. JE ZAKÁZÁNO PARKOVAT KOLMO KE SKLONU.


V1 Rychlost jízdy v silničním provozu, když je stroj připojen k traktoru.

dynamic-limits-03.png
  • CH : 40 km/h | 25 mph

  • FR : 25 km/h | 15 mph

Závisí na zemi, traktoru a dalších podmínkách. Dodržujte platné předpisy. V každém případě nepřekračujte rychlost 40 km/h | 25 mph.


V2 Rychlost jízdy v silničním provozu, když je stroj přepravován na přívěsu.

dynamic-limits-04.png

CH : 100 km/h | 62 mph

Závisí na zemi, přívěsu a dalších podmínkách. Dodržujte platné předpisy.