Breadcrumbs

Кинематични и динамични граници

Следната таблица показва кинематичните и динамичните граници, които трябва да се спазват, за да се използва машината в пълна безопасност както за хората, така и за самата машина.


Описание


A1 Максимален наклон при изкачване и слизане с модулите в транспортно положение.


kinematic-limits-01.png

Стойност


Вижте техническата документация на трактора.

Лимитиращ фактор


Тегло на преднята ос.


A3 Максимален ъгъл на наклон на трактора с модулите в работно положение.


kinematic-limits-03.png

± 3.2°

Размери на продълговатия отвор на теглича с три точки.


H3 Съответната височина за трактор с разстояние между осите 2 м | 78 in.

11 см | 4.3 in

Същото като A3.


A5 Максимален ъгъл на накланяне на трактора и модулите в работно положение.


kinematic-limits-05.png

Вижте техническата документация на трактора.

Ограничения на трактора.


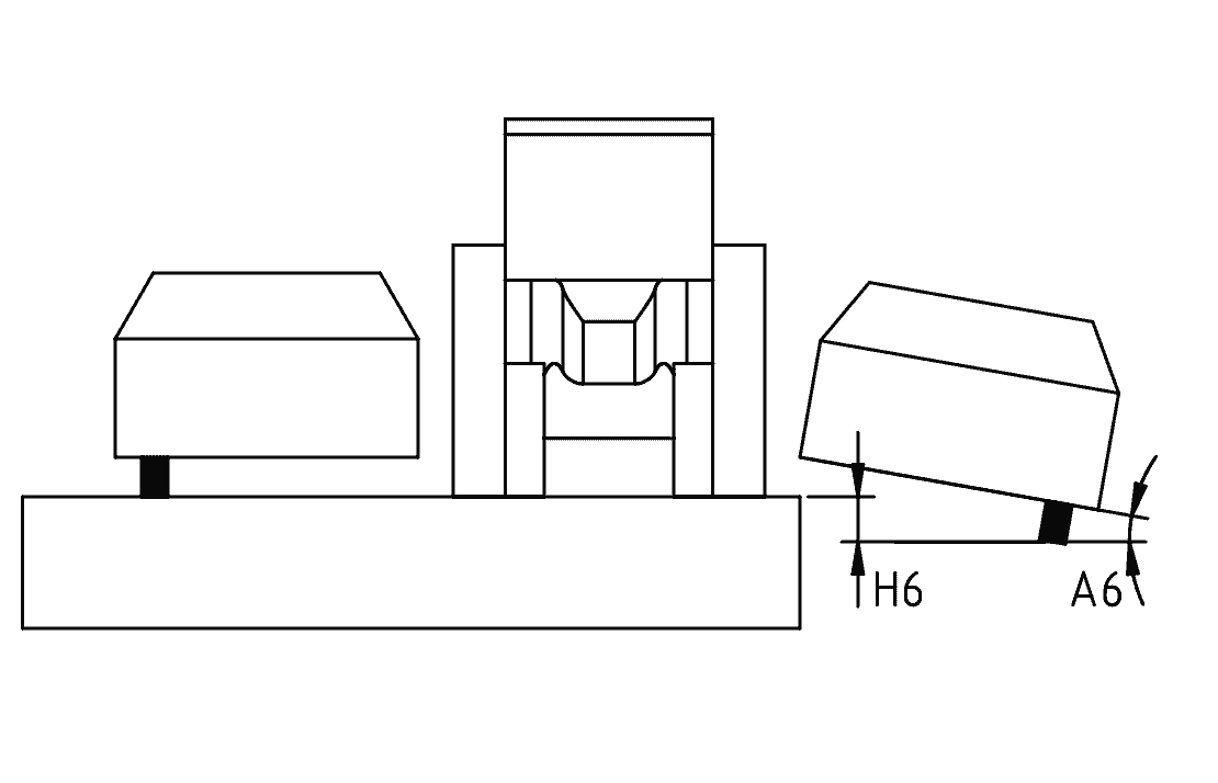
A6 Ъгъл на провисване на страничните модули. Това е ъгълът между хоризонталата и страничните модули, когато техните колела вече не докосват земята.


kinematic-limits-06.png

12°

Упори на модулите.


H6 Вертикално провисване на краищата на страничните модули.

42 cm | 16.5 in

Същото като A6.


A7 Максимален ъгъл на накланяне на страничните модули.


kinematic-limits-07.png

± 10°

Качеството на пръскането се намалява, тъй като съседните модули вече не пръскат в едни и същи направления. От -10° надолу припокриването на струите е твърде голямо. От +10° нагоре припокриването на струите е твърде малко.


H7 Съответстваща височина.

± 35 cm | 13.8 in

Същото като A7.


Направление на движение в завои, когато модулите са в работно положение.


kinematic-limits-08.png

Винаги напред.

Стопове на завъртащите се колела на машината.


A9 Максимален ъгъл на наклон при паркиране, модули в транспортно положение, независимо от ориентацията на машината.

dynamic-limits-01.png
kinematic-limits-09.png
kinematic-limits-10.png

3° (~5%)

Граница на придържането на паркинг стойките.

ПРЕДУПРЕЖДЕНИЯ

  • Никога не повдигайте или спускайте страничните модули, когато машината е перпендикулярна на направлението на наклона, тъй като толчковите движения могат да причинят преобръщане на машината.

  • Ако теренът е неравномерен и машината е разкачена, тя трябва да бъде припаркована в направлението на наклона. Забранено е паркирането перпендикулярно на склона.


V1 Скорост на движение в пътния трафик при свързана машина към трактора.

dynamic-limits-03.png
  • CH : 40 km/h | 25 mph

  • FR : 25 km/h | 15 mph

Зависи от страната, трактора и други условия. Спазвайте действащото законодателство. При всички случаи, не превишавайте скоростта от 40 km/h | 25 mph.


V2 Скорост на движение в пътния трафик при транспортиране на машината на ремарке.

dynamic-limits-04.png

CH : 100 km/h | 62 mph

Зависи от страната, ремаркето и други условия. Спазвайте действащото законодателство.